Separator tłuszczów roślinnych i zwierzęcych ze zintegrowanym osadnikiem typ STC NS 1/200...20/4000
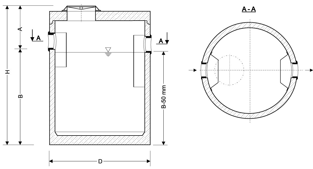
- W przypadku rzeczywistego zagłębienia kanalizacji większego od wartości “A” należy nadbudować separator nadstawkami regulacyjnymi
- Wszystkie urządzenia w wykonaniu najazdowym z włazami Ø600 w klasach obciążenia C250 lub D400.
| STC NS | 1/200 | 2/300* | 2/700 | 4/600* | 4/1200 | 7/800* | 7/1700 | 10/2000 | 15/4000 | 20/4000 | |
|---|---|---|---|---|---|---|---|---|---|---|---|
| Średnica D | [mm] | 1240 | 1240 | 1240 | 1500 | 1500 | 1800 | 1800 | 2300 | 2500 | 2800 |
| Wysokość H | [mm] | 1300 | 1800 | 2300 | 2400 | 2900 | 2400 | 2900 | 2400 | 2900 | 2900 |
| Wysokość A | [mm] | 510 | 510 | 510 | 610 | 610 | 610 | 610 | 650 | 650 | 700 |
| Dopływ/Odpływ max. | [mm] | 110 | 110 | 110 | 160 | 160 | 160 | 160 | 200 | 200 | 250 |
| Zagłębienie dna zbiornika B | [mm] | 790 | 1250 | 1790 | 1790 | 2290 | 1790 | 2290 | 1750 | 2250 | 2200 |
| Pojemność osadnika | [l] | 200 | 250 | 700 | 600 | 1200 | 750 | 1650 | 2000 | 3400 | 4000 |
| Min. pojemność tłuszczów | [l] | 40 | 80 | 80 | 160 | 160 | 280 | 280 | 400 | 600 | 800 |
| Masa jednostkowa | [kg] | 1240 | 1800 | 2900 | 3260 | 4760 | 5700 | 5700 | 6610 | 7500 | 10140 |
| Masa całkowita | [kg] | 1650 | 2200 | 3400 | 4020 | 5950 | 6870 | 6870 | 8550 | 9600 | 13050 |
Przykładowy sposób oznaczania separatorów ECO I
STC – typoszereg
NS 1 – wielkość nominalna
/200 – pojemność osadnika