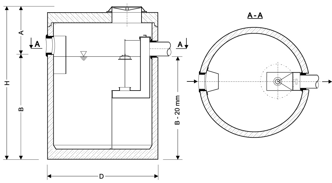
Osadnik zawiesiny mineralnej z zamknięciem pływakowym typ OZM - ZP 0,7...12
Aprobata Techniczna Instytutu Ochrony Środowiska w Warszawie nr AT/2012-08-0357
- W przypadku rzeczywistego zagłębienia kanalizacji większego od wartości “A” należy nadbudować separator nadstawkami regulacyjnymi
- Wszystkie urządzenia w wykonaniu najazdowym z włazami Ø600 w klasach obciążenia C250 lub D400.
| OZM-ZP | 0,7 | 1 | 1,5 | 1,5 | 2 | 2,5 | 3,5 | 4,5 | |
|---|---|---|---|---|---|---|---|---|---|
| Pojemność całkowita | [l] | 670 | 1060 | 1450 | 1530 | 2200 | 2470 | 3360 | 4240 |
| Pojemność użyteczna | [l] | 490 | 880 | 1230 | 1210 | 1890 | 1980 | 2790 | 3670 |
| Średnica D | [mm] | 1240 | 1240 | 1240 | 1500 | 1500 | 1800 | 1800 | 1800 |
| Wysokość H | [mm] | 1300 | 1800 | 2300 | 1800 | 2400 | 1900 | 2400 | 2900 |
| Wysokość A | [mm] | 510 | 510 | 560 | 560 | 560 | 560 | 600 | 600 |
| Dopływ/Odpływ max. | [mm] | 110 | 110 | 160 | 160 | 160 | 160 | 200 | 200 |
| Zagłębienie dna zbiornika B | [mm] | 790 | 1290 | 1740 | 1240 | 1840 | 1340 | 1800 | 2300 |
| Masa jednostkowa | [kg] | 1500 | 1800 | 2900 | 2700 | 3600 | 4600 | 4800 | 5700 |
| Masa całkowita | [kg] | 1900 | 2200 | 3400 | 3500 | 4400 | 5400 | 6000 | 6900 |
| OZM-ZP | 5 | 6 | 7 | 8 | 9 | 10 | 12 | |
|---|---|---|---|---|---|---|---|---|
| Pojemność całkowita | [l] | 5020 | 5970 | 7220 | 7540 | 9120 | 9320 | 11780 |
| Pojemność użyteczna | [l] | 4020 | 4800 | 5810 | 6170 | 7470 | 7190 | 9220 |
| Średnica D | [mm] | 2300 | 2300 | 2500 | 2300 | 2500 | 2800 | 2800 |
| Wysokość H | [mm] | 2100 | 2400 | 2400 | 2900 | 2900 | 2400 | 2900 |
| Wysokość A | [mm] | 600 | 650 | 650 | 715 | 715 | 715 | 800 |
| Dopływ/Odpływ max. | [mm] | 200 | 250 | 250 | 315 | 315 | 315 | 400 |
| Zagłębienie dna zbiornika B | [mm] | 1500 | 1750 | 1750 | 2185 | 2185 | 1685 | 2100 |
| Masa jednostkowa | [kg] | 6600 | 6600 | 6300 | 7800 | 9300 | 9700 | 10200 |
| Masa całkowita | [kg] | 8600 | 8580 | 8400 | 9800 | 11700 | 12200 | 13100 |
Przykładowy sposób oznaczania osadnika typu OZM-ZP
OZM-ZP – typoszereg
0,7 –pojemność nominalna [m3]