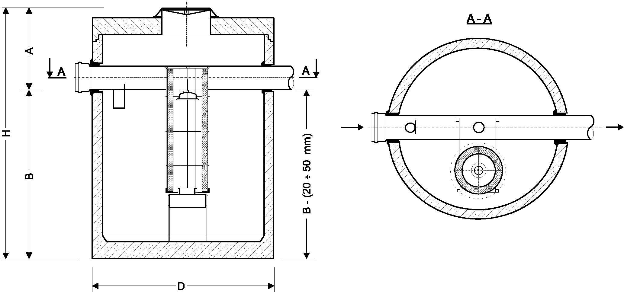
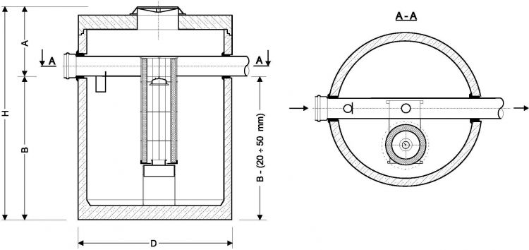
Separator koalescencyjny z wewnętrznym kanałem odciążającym typ ECO-H 3/30...80/800; ECO-H 3/15...80/400
Aprobata Techniczna Instytutu Ochrony Środowiska w Warszawie nr AT/2012-08-0356
- W przypadku rzeczywistego zagłębienia kanalizacji większego od wartości “A” należy nadbudować separator nadstawkami regulacyjnymi
- Wszystkie urządzenia w wykonaniu najazdowym z włazami Ø600 w klasach obciążenia C250 lub D400.
| ECO-H | 3/30 | 6/60 | 10/100 | 15/150 | 20/200 | 30/300 | 40/400 | 50/500 | 65/650 | 80/800 | |
|---|---|---|---|---|---|---|---|---|---|---|---|
| Przepust. nominalna | [l/s] | 3 | 6 | 10 | 15 | 20 | 30 | 40 | 50 | 65 | 80 |
| Przepust. maksymalna | [l/s] | 30 | 60 | 100 | 150 | 200 | 300 | 400 | 500 | 650 | 800 |
| Średnica D | [mm] | 1240 | 1240 | 1500 | 1500 | 1800 | 1800 | 2300 | 2300 | 2300 | 2500 |
| Wysokość H | [mm] | 1800 | 1800 | 1800 | 2400 | 2400 | 2400 | 2400 | 2400 | 2900 | 2900 |
| Wysokość A | [mm] | 650 | 850 | 950 | 950 | 1050 | 1150 | 1250 | 1250 | 1450 | 1450 |
| Dopływ/Odpływ max. | [mm] | 250 | 400 | 500 | 500 | 600 | 700 | 800 | 800 | 1000 | 1000 |
| Zagłębienie dna zbiornika B | [mm] | 1150 | 950 | 850 | 1450 | 1350 | 1250 | 1150 | 1150 | 1450 | 1450 |
| Ilość zatrzymanego oleju | [l] | 55 | 95 | 135 | 190 | 300 | 350 | 630 | 720 | 880 | 1255 |
| Masa jednostkowa | [kg] | 1800 | 1800 | 2700 | 3600 | 4800 | 4800 | 6600 | 6600 | 7800 | 9300 |
| Masa całkowita | [kg] | 2200 | 2200 | 3500 | 4400 | 5950 | 5950 | 8580 | 8580 | 9800 | 11700 |
| ECO-H | 3/15 | 6/30 | 10/50 | 15/75 | 20/100 | 30/150 | 40/200 | 50/250 | 65/325 | 80/400 | |
|---|---|---|---|---|---|---|---|---|---|---|---|
| Przepust. nominalna | [l/s] | 3 | 6 | 10 | 15 | 20 | 30 | 40 | 50 | 65 | 80 |
| Przepust. maksymalna | [l/s] | 15 | 30 | 50 | 75 | 100 | 150 | 200 | 250 | 325 | 400 |
| Średnica D | [mm] | 1240 | 1240 | 1500 | 1500 | 1800 | 1800 | 1800 | 2300 | 2300 | 2500 |
| Wysokość H | [mm] | 1800 | 1800 | 1800 | 2400 | 2400 | 2400 | 2900 | 2400 | 2900 | 2900 |
| Wysokość A | [mm] | 600 | 715 | 850 | 850 | 950 | 1050 | 1050 | 1150 | 1150 | 1250 |
| Dopływ/Odpływ max. | [mm] | 200 | 315 | 400 | 400 | 500 | 600 | 600 | 700 | 700 | 800 |
| Zagłębienie dna zbiornika B | [mm] | 1200 | 1085 | 950 | 1550 | 1450 | 1350 | 1850 | 1250 | 1750 | 1650 |
| Ilość zatrzymanego oleju | [l] | 55 | 80 | 135 | 190 | 300 | 530 | 440 | 880 | 1035 | 1635 |
| Masa jednostkowa | [kg] | 1800 | 1800 | 2700 | 3600 | 4800 | 4800 | 5700 | 6600 | 7800 | 9300 |
| Masa całkowita | [kg] | 2200 | 2200 | 3500 | 4400 | 5950 | 5950 | 6900 | 8580 | 9800 | 11700 |
Przykładowy sposób oznaczania separatorów ECO-H
ECO-H – typoszereg
3 – przepływ nominalny [l/s]
/ 30 – pojemność osadnika [m3]