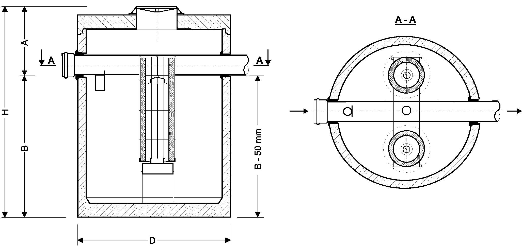
Separator koalescencyjny z wewnętrznym kanałem odciążającym typ ECO-H 100/1000...100/500

Aprobata Techniczna Instytutu Ochrony Środowiska w Warszawie nr AT/2012-08-0356

  • W przypadku rzeczywistego zagłębienia kanalizacji większego od wartości “A” należy nadbudować separator nadstawkami regulacyjnymi
  • Wszystkie urządzenia w wykonaniu najazdowym z włazami Ø600 w klasach obciążenia C250 lub D400.
ECO-H   100/1000 100/500
Przepust. nominalna [l/s] 100 100
Przepust. maksymalna [l/s] 1000 500
Średnica D [mm] 2800 2800
Wysokość H [mm] 2900 2900
Wysokość A [mm] 1450 1250
Dopływ/Odpływ max. [mm] 1000 800
Zagłębienie dna zbiornika B [mm] 1450 1650
Ilość zatrzymanego oleju [l] 1130 1130
Masa jednostkowa [kg] 10200 10200
Masa całkowita [kg] 13100 13100

Przykładowy sposób oznaczania separatorów ECO-H

ECO-H – typoszereg
3 – przepływ nominalny [l/s]
/ 30 – pojemność osadnika [m3]

Ważne! Nasza strona internetowa stosuje pliki cookies, tzw. ciasteczka. Kliknij "Zgadzam się", aby niniejsza informacja nie pojawiała się. Więcej...