Separator koalescencyjny zintegrowany z osadnikiem i kanałem odciążającym typ ECO-K 30/300-4,0...50/500-5,5; ECO-K 30/150-4,0...50/250-6,0
Aprobata Techniczna Instytutu Ochrony Środowiska w Warszawie nr AT/2012-08-0219-2/A2
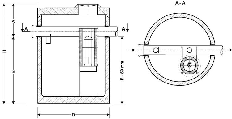
- W przypadku rzeczywistego zagłębienia kanalizacji większego od wartości “A” należy nadbudować separator nadstawkami regulacyjnymi
- Wszystkie urządzenia w wykonaniu najazdowym z włazami Ø600 w klasach obciążenia C250 lub D400.
| ECO-K | 30/300-4,0 | 30/300-5,0 | 30/300-6,0 | 40/400-4,5 | 40/400-6,0 | 50/500-5,5 | |
|---|---|---|---|---|---|---|---|
| Przepust. nominalna | [l/s] | 30 | 30 | 30 | 40 | 40 | 50 |
| Przepust. maksymalna | [l/s] | 300 | 300 | 300 | 400 | 400 | 500 |
| Pojemność osadnika | [l] | 4000 | 5000 | 6000 | 4500 | 6000 | 5500 |
| Średnica D | [mm] | 2300 | 2500 | 2800 | 2500 | 2800 | 2800 |
| Wysokość H | [mm] | 2900 | 2900 | 2900 | 2900 | 2900 | 2900 |
| Wysokość A | [mm] | 1150 | 1150 | 1150 | 1250 | 1250 | 1250 |
| Dopływ/Odpływ max. | [mm] | 700 | 700 | 700 | 800 | 800 | 800 |
| Zagłębienie dna zbiornika B | [mm] | 1750 | 1750 | 1750 | 1650 | 1650 | 1650 |
| Ilość zatrzymanego oleju | [l] | 550 | 665 | 860 | 665 | 860 | 1005 |
| Masa jednostkowa | [kg] | 7800 | 9300 | 10200 | 9300 | 10200 | 10200 |
| Masa całkowita | [kg] | 9800 | 11700 | 13100 | 11700 | 13100 | 13100 |
| ECO-K | 30/150-4,0 | 30/150-5,0 | 30/150-6,0 | 40/200-5,0 | 40/200-6,5 | 50/250-6,0 | |
|---|---|---|---|---|---|---|---|
| Przepust. nominalna | [l/s] | 30 | 30 | 30 | 40 | 40 | 50 |
| Przepust. maksymalna | [l/s] | 150 | 150 | 150 | 200 | 200 | 250 |
| Pojemność osadnika | [l] | 4000 | 5000 | 6000 | 5000 | 6500 | 6000 |
| Średnica D | [mm] | 2300 | 2500 | 2800 | 2500 | 2800 | 2800 |
| Wysokość H | [mm] | 2900 | 2900 | 2900 | 2900 | 2900 | 2900 |
| Wysokość A | [mm] | 1050 | 1050 | 1050 | 1050 | 1050 | 1150 |
| Dopływ/Odpływ max. | [mm] | 600 | 600 | 600 | 600 | 600 | 700 |
| Zagłębienie dna zbiornika B | [mm] | 1850 | 1850 | 1850 | 1850 | 1850 | 1750 |
| Ilość zatrzymanego oleju | [l] | 865 | 1045 | 1350 | 665 | 860 | 1005 |
| Masa jednostkowa | [kg] | 7800 | 9300 | 10200 | 9300 | 10200 | 10200 |
| Masa całkowita | [kg] | 9800 | 11700 | 13100 | 11700 | 13100 | 13100 |
Przykładowy sposób oznaczania separatorów ECO-K
ECO-K – typoszereg
30 – przepływ nominalny [l/s]
/300 – przepływ nominalny [l/s]
4,0 – pojemność osadnika [m3]